Foram encontradas 400 questões.
Provas
Considere que o projeto de fundações para uma edificação irá utilizar estacas maciças moldadas in loco com diâmetro de 90 cm, conforme especificado a seguir.

Considerando as características da estaca apresentada, como a tensão na estaca
Provas
Considere a construção de um aterro no nível do terreno sobre o perfil geotécnico a seguir.

A camada compressível (argila mole verde) após a sobrecarga devido à construção do aterro encontra-se
Provas
Após a realização da prospecção de um terreno, considere o perfil geotécnico a seguir.

Considerando que a camada de argila arenosa vermelha apresenta saturação por capilaridade, os valores das tensões total, neutra e efetiva, em kPa, no ponto A (cota −2,0 m) são, respectivamente,
Provas
Considere as estacas a seguir das seções de uma gleba que passará por um processo de terraplenagem para a projeção de um plano inclinado com rampa de 3% da estaca 10 para a estaca 14.

As cotas finais das estacas P-10 e P-14 são, em metros, respectivamente,
Provas
No cronograma de rede da figura, as atividades são representadas por letras, seguidas de suas durações em dias.

O tempo de execução dessa obra, em dias, é
Provas
A parede da figura apresenta uma série de fissuras.

A causa mais provável dessa patologia na alvenaria é a atuação de
Provas
O telhado da edificação da figura deve ser construído com telhas cerâmicas tipo francesa.

Para essa construção, a altura mínima do telhado (hmim) é, em metros,
Provas
Considere a treliça da figura montada com perfis de aço, cada um deles com 5 cm2 de área da seção transversal e submetida a duas cargas concentradas.


Se o módulo de elasticidade do aço dos perfis é 200 000 MPa, o encurtamento da barra CD, em centímetros, é
Provas
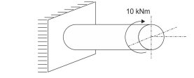
O eixo metálico da figura, com 160 mm de diâmetro, está submetido ao momento de torção de 10 kNm.

Considerando que o momento polar de inércia do eixo é 400 cm4, a tensão de cisalhamento no eixo devido à torção, em módulo, em MPa, é
Provas
Caderno Container