Foram encontradas 550 questões.
O critério de resistência de von Mises (energia de distorção) estabelece que a energia de distorção ocorrente no ponto mais solicitado de uma peça não deve ultrapassar a energia de distorção ocorrente em um ensaio de tração. Comparativamente ao critério de Tresca (máxima tensão cisalhante), é correto afirmar que em uma peça de material dúctil com tensões de escoamento por tração e compressão iguais, sujeita a um estado
Provas
Um motor transmite potência a uma máquina através de um eixo sobre o qual é fixada uma engrenagem de dentes helicoidais. Em princípio, o projeto deste eixo deve ser baseado nos esforços
Provas
Para absorver as vibrações ocorrentes em uma máquina de massa M, um engenheiro determinou que esta fosse assentada em uma fundação elástica de rigidez K. Por engano, foi utilizado como fundação elástica um conjunto de molas, cuja rigidez equivalente é de 4K. Nessas condições, a frequência natural do sistema foi aumentada em
Provas

Uma força F atua na estrutura mostrada na figura acima até que a carga atuante na barra BD atinja seu valor máximo no regime elástico. Nessas condições, o valor da força F, em kN, é
Provas
A antena de um radar de rastreamento para a posição de azimute é acionada por um motor que transmite o movimento através de um sistema redutor, com redução de 1:400. A velocidade angular da antena em regime é de 6 rpm e a velocidade do motor é de 2.400 rpm.
Sendo o momento de inércia de massa da antena igual a 600 kg.m2, e considerando que não ocorram perdas no sistema, o torque, em N.m, necessário ao motor durante sua fase de aceleração constante de 0,2 rad/s2, vale
Provas
A antena de um radar de rastreamento para a posição de azimute é acionada por um motor que transmite o movimento através de um sistema redutor, com redução de 1:400. A velocidade angular da antena em regime é de 6 rpm e a velocidade do motor é de 2.400 rpm.
Considerando que a antena inicie seu movimento a uma aceleração angular constante de 0,2 rad/s2, o tempo, em s, necessário para atingir sua velocidade de regime é
Provas

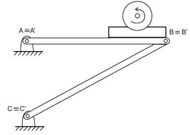
Um motor é suportado por duas estruturas idênticas paralelas (ABC e A’B’C’) constituídas por uma viga (AB e A’B’) e uma barra (BC e B’C’), conforme ilustrado na figura em uma vista plana. Considerando um assentamento ideal do motor sobre as vigas AB e A’B’, esta estrutura é
Provas
A qualidade de projeto está associada à análise do produto em termos de sua qualidade, e a qualidade de conformação está associada ao esforço despendido para o pleno atendimento às especificações de projeto. A qualidade de conformação, relativamente ao modelo de gerenciamento e à ênfase, está associada, respectivamente, à(s) (aos)
Provas
Os óleos minerais são utilizados como lubrificantes com origem nos petróleos crus e beneficiados através de refinação. Esses óleos podem ser parafínicos, naftênicos ou mistos. Aqueles cuja base é
Provas
Considere as afirmativas a seguir relacionadas à seleção e utilização dos motores elétricos.
I - Os motores de indução monofásicos representam uma alternativa aos motores de indução polifásicos. Sua utilização é justificável para altas potências (superiores a 5 KW).
II - Entre os vários tipos de motores elétricos monofásicos, os motores com rotor tipo gaiola se destacam pela simplicidade de fabricação e, principalmente, pela robustez e manutenção reduzida.
III - O motor de indução monofásico é o tipo mais utilizado na indústria, devido à maioria dos sistemas atuais de distribuição de energia elétrica serem monofásicos de corrente alternada.
IV - O motor de indução trifásico apresenta vantagens relativamente ao monofásico: arranque mais fácil, menor ruído e é mais barato para potências superiores a 2 KW.
Estão corretas APENAS as afirmativas
Provas
Caderno Container