Magna Concursos

Foram encontradas 3.478 questões.

2881418 Ano: 2010
Disciplina: Engenharia Mecânica
Banca: CESGRANRIO
Orgão: Petrobrás

Supondo que a carga que dará uma vida de 1 milhão de revoluções à pista interna seja de 2700 N, quantos milhões de revoluções dará a vida sob fadiga de um mancal de rolos submetido a uma carga constante de 300 N?

 

Provas

Questão presente nas seguintes provas
2881417 Ano: 2010
Disciplina: Engenharia Mecânica
Banca: CESGRANRIO
Orgão: Petrobrás

Sobre alguns dos processos de fabricação mecânica, pode-se afirmar que

I - na extrusão, o material é empurrado contra uma matriz;

II - o produto do forjamento são peças acabadas ou semiacabadas de alta resistência mecânica;

III - na fundição sob pressão, não se utilizam matrizes de areia;

IV - a concentração de alguns elementos nas partes mais frias do molde de areia é denominada de segregação.

São corretas as afirmações

 

Provas

Questão presente nas seguintes provas
2881416 Ano: 2010
Disciplina: Engenharia Mecânica
Banca: CESGRANRIO
Orgão: Petrobrás

Um técnico decidiu utilizar uma fresa de 100 mm x 20 mm com 10 dentes, ângulo de saída igual a 18º e ângulo de folga igual a 8º para desbastar uma peça de aço de pressão específica de corte igual a 140 kgf/mm2. Sabe-se que o avanço escolhido foi de 100 mm/min a 30 rpm e a profundidade de corte foi de 4 mm. Considerando o rendimento do motor igual a 90%, o rendimento da correia igual a 90%, o rendimento da máquina igual a 90% e a potência consumida na operação igual a 0,25 CV, qual a potência do motor e a secção total da fita de cavaco?

 

Provas

Questão presente nas seguintes provas
2881415 Ano: 2010
Disciplina: Engenharia Mecânica
Banca: CESGRANRIO
Orgão: Petrobrás

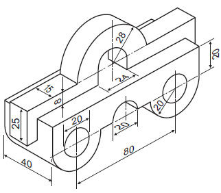
Enunciado 3090880-1

Qual a representação, em 1o diedro, das vistas frontal, lateral esquerda e superior da peça ilustrada acima?

 

Provas

Questão presente nas seguintes provas
2881414 Ano: 2010
Disciplina: Engenharia Mecânica
Banca: CESGRANRIO
Orgão: Petrobrás

Um torneiro tem de desbastar um tarugo de !$ varnothing !$ 30 mm x 50 mm para alcançar a dimensão nominal final de 20 mm x 50 mm. Sabendo-se que a rotação escolhida foi de 100 rpm, a profundidade de corte adotada foi de 2,5 mm e a ferramenta avança 1 mm por volta, determine o tempo de operação total e a secção de cavaco.

 

Provas

Questão presente nas seguintes provas
2881413 Ano: 2010
Disciplina: Engenharia Mecânica
Banca: CESGRANRIO
Orgão: Petrobrás

Enunciado 3090878-1

Analisando as figuras acima quanto à tolerância geométrica, conclui-se que, em

 

Provas

Questão presente nas seguintes provas
2881412 Ano: 2010
Disciplina: Engenharia Mecânica
Banca: CESGRANRIO
Orgão: Petrobrás

A determinação das dimensões nominais e das tolerâncias dos calibradores e contracalibradores de fabricação e recebimento é feita em função dos ajustes padronizados, da dimensão nominal e dos afastamentos admissíveis. Sabendo-se que a usura admissível para o lado PASSA de um calibrador de diâmetro nominal igual a 5 mm é dada pela faixa (2,5 ; 3,5) e que o deslocamento da dimensão do lado PASSA desse mesmo calibrador está na faixa (1,5 ; 2), qual a faixa de desgaste permitida para esse calibrador?

 

Provas

Questão presente nas seguintes provas
2881411 Ano: 2010
Disciplina: Engenharia Mecânica
Banca: CESGRANRIO
Orgão: Petrobrás

Pelos dados da tabela de afastamentos acima, o ajuste 24 H6/g7 tem as seguintes características:

Enunciado 3090876-1

Ajuste

Sistema Folga (ou interferência)
Máxima [!$ mu !$m]
Folga (ou interferência)
Mínima [!$ mu !$m]

Tolerância de
funcionamento [!$ mu !$m]

 

Provas

Questão presente nas seguintes provas
2881410 Ano: 2010
Disciplina: Engenharia Mecânica
Banca: CESGRANRIO
Orgão: Petrobrás

Sobre conceitos básicos da metrologia, analise as afirmativas abaixo.

I - Para que a intercambiabilidade seja obtida, é preciso que as peças sejam fabricadas em uma mesma máquina e por um mesmo operador.

II - Os graus de tolerância IT mais baixos, como o IT2 e o IT3, são reservados para peças de baixa precisão, enquanto os graus de tolerância mais altos são reservados para peças de maior precisão.

III - As tolerâncias de batimento podem ser de três tipos: radial, mista e axial.

IV - No sistema Furo-base, o diâmetro mínimo do furo é sempre igual ao diâmetro nominal do furo.

É correto APENAS o que se afirma em

 

Provas

Questão presente nas seguintes provas
2881409 Ano: 2010
Disciplina: Engenharia Mecânica
Banca: CESGRANRIO
Orgão: Petrobrás

Enunciado 3090874-1

As medidas indicadas nos instrumentos ilustrados nas figuras acima são:

 

Provas

Questão presente nas seguintes provas