Foram encontradas 1.127 questões.
Disciplina: Serviços Gerais
Banca: LJ Assessoria
Orgão: Pref. Buriticupu-MA
A principal limitação da utilização de tubulação de CPVC em uma instalação de água quente é o limite de temperatura. Este fato exige a instalação de uma termo-válvula, que deve. deve impedir que a água quente ultrapasse a temperatura de
Provas
Disciplina: Serviços Gerais
Banca: LJ Assessoria
Orgão: Pref. Buriticupu-MA
Assinale a alternativa INCORRETA no que diz respeito à uma instalação predial de esgoto sanitário:
Provas
Disciplina: Serviços Gerais
Banca: LJ Assessoria
Orgão: Pref. Buriticupu-MA
Fossa séptica é um sistema de tratamento de esgoto sanitário que ocorre em domicílios, sendo uma unidade que atua química e fisicamente nos dejetos. Que componente da fossa séptica tem a função de permitir a filtração da parte líquida do esgoto no solo?
Provas
Disciplina: Serviços Gerais
Banca: LJ Assessoria
Orgão: Pref. Buriticupu-MA
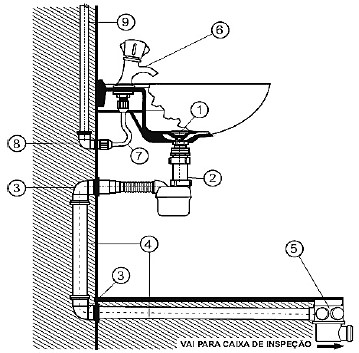
No esquema de ligação representado abaixo, podemos concluir que:

Provas
Disciplina: Serviços Gerais
Banca: LJ Assessoria
Orgão: Pref. Buriticupu-MA
Nas afirmações abaixo, assinale (V) se forem verdadeiras e (F) se forem falsas, e em seguida assinale a alternativa correta:
( ) A pressão que a água exerce sobre uma superfície qualquer (no nosso caso, o fundo e as paredes dos copos) só depende da altura do nível da água até essa superfície.
( ) A pressão dinâmica representa a pressão máxima que podemos aplicar a um tubo, conexão, válvula ou outro dispositivo, quando em uso normal.
( ) A pressão dentro de um recipiente, depende do volume de água contido em um tubo, e da altura.
( ) Em uma instalação predial de água fria, em qualquer ponto, a pressão estática máxima não deve ultrapassar 40 m.c.a.
Provas
Disciplina: Segurança e Saúde no Trabalho (SST)
Banca: LJ Assessoria
Orgão: Pref. Buriticupu-MA
Segurança no Trabalho pode ser definido como o conjunto de ações e medidas adotadas em um processo de trabalho e que tem como finalidade prevenir acidentes e doenças relacionadas ao trabalho. A combinação da probabilidade da ocorrência de um evento perigoso e da gravidade do dano ou prejuízos que poderão resultar, caso este evento venha a ocorrer, é denominado de:
Provas
Disciplina: Serviços Gerais
Banca: LJ Assessoria
Orgão: Pref. Buriticupu-MA
Ao se dimensionar um sistema de águas pluviais, deve se levar em consideração a seguinte recomendação:
Provas
Disciplina: Serviços Gerais
Banca: LJ Assessoria
Orgão: Pref. Buriticupu-MA
O sistema de esgoto sanitário é o conjunto de tubulações, conexões, caixas sifonadas e demais dispositivos responsáveis por coletar e conduzir a um destino adequado os efluentes de esgotos, com garantia de segurança e perfeito funcionamento. Nesse sentido, assinale a alternativa que se refere ao Subcoletor:
Provas
Disciplina: Serviços Gerais
Banca: LJ Assessoria
Orgão: Pref. Buriticupu-MA
A respeito do dimensionamento de uma instalação de água quente, assinale a recomendação que é verdadeira:
Provas
Disciplina: Serviços Gerais
Banca: LJ Assessoria
Orgão: Pref. Buriticupu-MA
A tubulação de água fria que alimenta as instalações com aquecedores de acumulação deve ser feita com material específico, e resistente à temperatura máxima admissível da água quente, que é de:
Provas
Caderno Container