Foram encontradas 201 questões.
2787022
Ano: 2023
Disciplina: Eletroeletrônica
Banca: OBJETIVA
Orgão: Pref. Sagrada Família-RS
Disciplina: Eletroeletrônica
Banca: OBJETIVA
Orgão: Pref. Sagrada Família-RS
Provas:
- EletrotécnicaCircuitos Elétricos em Eletricidade
- EletrotécnicaCircuitos de Corrente Contínua e de Corrente Alternada
Um circuito série, com uma fonte de tensão elétrica de
12Vcc, possui três resistores em série. Sabendo-se que cada
resistor possui a resistência de 3 ohms, qual é o valor da
resistência elétrica total do circuito?
Provas
Questão presente nas seguintes provas
2787021
Ano: 2023
Disciplina: Eletroeletrônica
Banca: OBJETIVA
Orgão: Pref. Sagrada Família-RS
Disciplina: Eletroeletrônica
Banca: OBJETIVA
Orgão: Pref. Sagrada Família-RS
Provas:
O fornecimento de energia nas edificações deve ser
realizado pelas concessionárias. Sobre a classificação dos
tipos de ligações, assinalar a alternativa CORRETA:
Provas
Questão presente nas seguintes provas
2787020
Ano: 2023
Disciplina: Eletroeletrônica
Banca: OBJETIVA
Orgão: Pref. Sagrada Família-RS
Disciplina: Eletroeletrônica
Banca: OBJETIVA
Orgão: Pref. Sagrada Família-RS
Provas:
A figura abaixo mostra um esquema de ligação de uma
partida para duas lâmpadas tubulares fluorescentes: 
Essa partida é do tipo:

Essa partida é do tipo:
Provas
Questão presente nas seguintes provas
2787019
Ano: 2023
Disciplina: Eletroeletrônica
Banca: OBJETIVA
Orgão: Pref. Sagrada Família-RS
Disciplina: Eletroeletrônica
Banca: OBJETIVA
Orgão: Pref. Sagrada Família-RS
Provas:
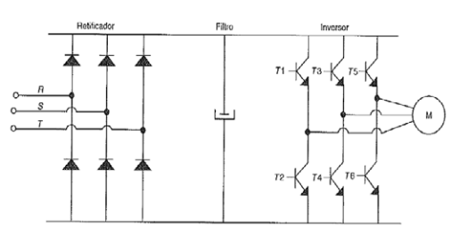
O responsável pela manutenção elétrica e mecânica da
empresa entregou o esquema abaixo para um eletricista: 
É CORRETO afirmar que se trata de um acionamento de motor elétrico por:

É CORRETO afirmar que se trata de um acionamento de motor elétrico por:
Provas
Questão presente nas seguintes provas
2787018
Ano: 2023
Disciplina: Segurança e Saúde no Trabalho (SST)
Banca: OBJETIVA
Orgão: Pref. Sagrada Família-RS
Disciplina: Segurança e Saúde no Trabalho (SST)
Banca: OBJETIVA
Orgão: Pref. Sagrada Família-RS
Provas:
Considerando-se a NBR 5410 - Instalações elétricas de
baixa tensão, numerar a 2ª coluna de acordo com a 1ª e,
após, assinalar a alternativa que apresenta a sequência
CORRETA:
(1) Proteção básica. (2) Proteção supletiva. (3) Proteção adicional.
(--) Evita choque elétrico quando massas tornam-se partes condutivas ou acidentalmente vivas. (--) Evita o contato com partes vivas perigosas em condições normais. (--) Evita choques, em situações de maior risco, ou perdas das medidas aplicáveis.
(1) Proteção básica. (2) Proteção supletiva. (3) Proteção adicional.
(--) Evita choque elétrico quando massas tornam-se partes condutivas ou acidentalmente vivas. (--) Evita o contato com partes vivas perigosas em condições normais. (--) Evita choques, em situações de maior risco, ou perdas das medidas aplicáveis.
Provas
Questão presente nas seguintes provas
2787017
Ano: 2023
Disciplina: Segurança e Saúde no Trabalho (SST)
Banca: OBJETIVA
Orgão: Pref. Sagrada Família-RS
Disciplina: Segurança e Saúde no Trabalho (SST)
Banca: OBJETIVA
Orgão: Pref. Sagrada Família-RS
Provas:
De acordo com a NR 10 - Segurança em Instalações e
Serviços em Eletricidade, sobre a segurança em projetos,
analisar a sentença abaixo:
É obrigatório que os projetos de instalações elétricas especifiquem dispositivos de desligamento de circuitos que possuam recursos para impedimento de reenergização, para sinalização de advertência com indicação da condição operativa (1ª parte). Todo projeto deve prever condições para a adoção de aterramento temporário (2ª parte). O memorial descritivo do projeto deve conter apenas a especificação das características relativas à proteção contra choques elétricos e as precauções aplicáveis em face das influências externas (3ª parte).
A sentença está:
É obrigatório que os projetos de instalações elétricas especifiquem dispositivos de desligamento de circuitos que possuam recursos para impedimento de reenergização, para sinalização de advertência com indicação da condição operativa (1ª parte). Todo projeto deve prever condições para a adoção de aterramento temporário (2ª parte). O memorial descritivo do projeto deve conter apenas a especificação das características relativas à proteção contra choques elétricos e as precauções aplicáveis em face das influências externas (3ª parte).
A sentença está:
Provas
Questão presente nas seguintes provas
2787016
Ano: 2023
Disciplina: Legislação de Trânsito
Banca: OBJETIVA
Orgão: Pref. Sagrada Família-RS
Disciplina: Legislação de Trânsito
Banca: OBJETIVA
Orgão: Pref. Sagrada Família-RS
Provas:
Os óleos são utilizados na lubrificação dos motores. Eles
são fundamentais para o bom funcionamento dos veículos e
devem estar sempre dentro dos níveis recomendados pelos
fabricantes. Assinalar a alternativa que apresenta
CORRETAMENTE a principal função do óleo nos motores dos
veículos:
Provas
Questão presente nas seguintes provas
2787015
Ano: 2023
Disciplina: Legislação de Trânsito
Banca: OBJETIVA
Orgão: Pref. Sagrada Família-RS
Disciplina: Legislação de Trânsito
Banca: OBJETIVA
Orgão: Pref. Sagrada Família-RS
Provas:
Sobre a sinalização de primeiros socorros em caso de
acidente no trânsito, analisar a sentença abaixo:
Usa-se o triângulo de segurança para sinalizar a via (1ª parte). Itens que forem encontrados nas imediações do acidente também podem ser usados para sinalizar, como galhos de árvores e pedaços de tecido (2ª parte). À noite ou sob neblina, a sinalização deve ser feita com materiais luminosos (3ª parte).
A sentença está:
Usa-se o triângulo de segurança para sinalizar a via (1ª parte). Itens que forem encontrados nas imediações do acidente também podem ser usados para sinalizar, como galhos de árvores e pedaços de tecido (2ª parte). À noite ou sob neblina, a sinalização deve ser feita com materiais luminosos (3ª parte).
A sentença está:
Provas
Questão presente nas seguintes provas
2787014
Ano: 2023
Disciplina: Legislação de Trânsito
Banca: OBJETIVA
Orgão: Pref. Sagrada Família-RS
Disciplina: Legislação de Trânsito
Banca: OBJETIVA
Orgão: Pref. Sagrada Família-RS
Provas:
Considerando-se a direção defensiva, analisar os itens
abaixo:
I. O respeito à pessoa e a convivência solidária podem tornar o trânsito mais seguro. II. Recomenda-se derramar óleo ou descartar materiais na via ou nos espaços públicos. III. Deve-se fazer manutenção, conservação e limpeza do veículo em local próprio.
Está(ão) CORRETO(S):
I. O respeito à pessoa e a convivência solidária podem tornar o trânsito mais seguro. II. Recomenda-se derramar óleo ou descartar materiais na via ou nos espaços públicos. III. Deve-se fazer manutenção, conservação e limpeza do veículo em local próprio.
Está(ão) CORRETO(S):
Provas
Questão presente nas seguintes provas
2787013
Ano: 2023
Disciplina: Legislação de Trânsito
Banca: OBJETIVA
Orgão: Pref. Sagrada Família-RS
Disciplina: Legislação de Trânsito
Banca: OBJETIVA
Orgão: Pref. Sagrada Família-RS
Provas:
Nas vias urbanas coletoras onde não existe sinalização
de regulamentação de velocidade, o condutor deve
considerar qual das alternativas a seguir como sendo a
velocidade máxima permitida para circulação?
Provas
Questão presente nas seguintes provas
Cadernos
Caderno Container