Foram encontradas 687 questões.
A Figura 1, abaixo, exprime algumas características da barra trefilada sextavada (tabela à esquerda) e da barra trefilada redonda (tabela à direita), fornecidas pelo fabricante. A Figura 2 ilustra o esboço aproximado (fora de escala) de uma peça que se deseja confeccionar.

Admitindo que as barras empregadas possuam medidas h = d = 25,40 mm (mesmas medidas para a de seção sextava e a de seção redonda), comprimento da parte sextavada da peça L1 = 0,30 m, comprimento da parte redonda da peça L2 = 2,00 m, o valor da massa (entenda como popularmente “peso”) das duas peças (a sextavada e a redonda), em kg, será aproximadamente de
Provas
Provas
Provas
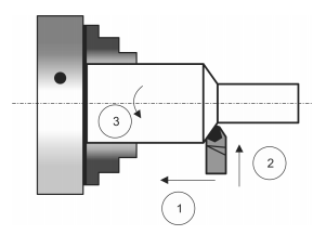
Considere a imagem abaixo.

Os deslocamentos indicados pelos números 1, 2 e 3, realizados durante o torneamento cilíndrico externo, são, respectivamente, movimentos de
Provas
Provas
Provas
Provas
Para realização de uma soldagem utilizando o processo MIG/MAG, foi utilizada a junta apresentada na figura abaixo.

No perfil apresentado, os ângulos “α”, “β” e as dimensões S e f são, respectivamente,
Provas
A rotação para acabamento em um eixo de alumínio, de diâmetro 100 mm, torneado com ferramenta de aço rápido é, em rpm,
Provas
Provas
Caderno Container