Magna Concursos

Foram encontradas 612 questões.

188096 Ano: 2017
Disciplina: Engenharia Química
Banca: FUNRIO
Orgão: SESAU-RO
Provas:
Em um sistema operando em regime contínuo e estacionário, pode-se afirmar que:
 

Provas

Questão presente nas seguintes provas
188095 Ano: 2017
Disciplina: Engenharia Mecânica
Banca: FUNRIO
Orgão: SESAU-RO

Observe o diagrama tensão (enunciado 188095-1) versus deformação (enunciado 188095-2) obtido em um ensaio de tração de uma peça de aço carbono.

enunciado 188095-3

Com base nesse diagrama, pode-se afirmar que a tensão de escoamento desse aço vale:

 

Provas

Questão presente nas seguintes provas
188094 Ano: 2017
Disciplina: Engenharia Mecânica
Banca: FUNRIO
Orgão: SESAU-RO
A figura a seguir apresenta um circuito, em equilíbrio, constituído por um fluido e dois êmbolos. enunciado 188094-1 Sobre o êmbolo 1 é aplicada uma carga de 200N e sobre o êmbolo 2 é aplicada uma carga de magnitude F2. Sabendo que a área da seção transversal do êmbolo 1 é de 100mm2 e que a do êmbolo 2 é de 500mm2 , a carga F2 vale:
 

Provas

Questão presente nas seguintes provas
188093 Ano: 2017
Disciplina: Engenharia Mecânica
Banca: FUNRIO
Orgão: SESAU-RO
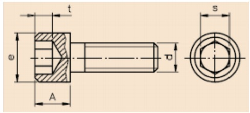
A figura a seguir apresenta um corte longitudinal e a vista lateral de um parafuso com sextavado interno. enunciado 188093-1 Esses parafusos são usualmente fabricados utilizando-se:
 

Provas

Questão presente nas seguintes provas
188092 Ano: 2017
Disciplina: Engenharia Mecânica
Banca: FUNRIO
Orgão: SESAU-RO
Os elementos de vedação se classificam em dois grupos: os elementos de junções fixas e os de junções móveis. Um tipo de vedação direta para junções fixas recomendado para operações com fluidos de baixa pressão é vedação:
 

Provas

Questão presente nas seguintes provas
188091 Ano: 2017
Disciplina: Engenharia Mecânica
Banca: FUNRIO
Orgão: SESAU-RO
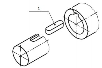
A figura a seguir apresenta uma peça mecânica. enunciado 188091-1 Nessa peça, o elemento indicado pelo número 1 é conhecido como:
 

Provas

Questão presente nas seguintes provas
188090 Ano: 2017
Disciplina: Engenharia Eletrônica
Banca: FUNRIO
Orgão: SESAU-RO
No projeto de circuitos lógicos combinacionais, o método gráfico utilizado para simplificar uma expressão lógica, ou para converter uma tabela-verdade em um circuito lógico mais simplificado, é denominado de:
 

Provas

Questão presente nas seguintes provas
188089 Ano: 2017
Disciplina: Engenharia Eletrônica
Banca: FUNRIO
Orgão: SESAU-RO
A curva característica de um diodo relaciona a tensão aplicada (U) às extremidades do diodo com a corrente elétrica (I) que o atravessa. O gráfico que melhor representa essa relação é:
 

Provas

Questão presente nas seguintes provas
188088 Ano: 2017
Disciplina: Engenharia Eletrônica
Banca: FUNRIO
Orgão: SESAU-RO
Mostra-se, a seguir, a tabela verdade de uma porta lógica, onde “A” e “B” indicam as entradas e “S” indica a saída. enunciado 188088-1 Essa porta lógica é do tipo:
 

Provas

Questão presente nas seguintes provas
188087 Ano: 2017
Disciplina: Engenharia Eletrônica
Banca: FUNRIO
Orgão: SESAU-RO
Observe as características abaixo, que podem ou não ser encontradas em um retificador monofásico AC/DC. enunciado 188087-1 Um retificador monofásico do tipo controlado apresenta a(s) característica(s):
 

Provas

Questão presente nas seguintes provas