1605190
Ano: 2008
Disciplina: Engenharia de Telecomunicações
Banca: CESPE / CEBRASPE
Orgão: Pref. Vitória-ES
Disciplina: Engenharia de Telecomunicações
Banca: CESPE / CEBRASPE
Orgão: Pref. Vitória-ES
Provas:


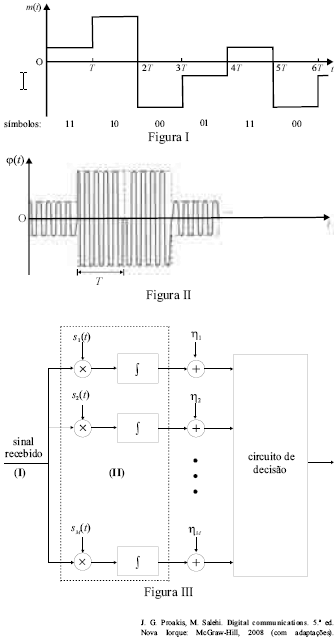
O desempenho da probabilidade de erro de símbolo do sistema detector ilustrado na figura III no caso de o canal de transmissão ser do tipo AWGN, e não Rayleigh, pode ser corretamente ilustrado pela figura a seguir, em que
é a razão entre a energia de bit do sinal recebido e a densidade de potência do ruído AWGN.

Provas
Questão presente nas seguintes provas