2086088
Ano: 2021
Disciplina: Eletroeletrônica
Banca: VUNESP
Orgão: Pref. Ferraz Vasconcelos-SP
Disciplina: Eletroeletrônica
Banca: VUNESP
Orgão: Pref. Ferraz Vasconcelos-SP
Provas:
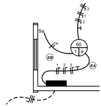
A figura 3 mostra um diagrama elétrico de parte de uma instalação predial.

A partir do mostrado na figura, pode-se afirmar corretamente que