Magna Concursos
209843 Ano: 2016
Disciplina: Eletroeletrônica
Banca: FUNDEP
Orgão: IFN-MG
Provas:

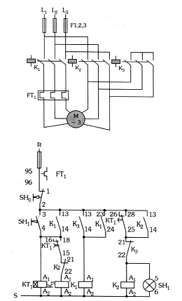
Analise os diagramas de força e de comando a seguir.

enunciado 209843-1

Com relação a esses diagramas, é correto afirmar:

 

Provas

Questão presente nas seguintes provas

Técnico de Eletrotécnica

40 Questões