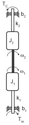
Considere o sistema mecânico de rotação mostrado na
Figura, no qual os eixos 1 e 2 são flexíveis e estão apoiados em mancais que possuem dissipação. O eixo intermediário é suposto rígido e com amortecimento desprezível.

Nessas condições, verifica-se que existe uma

Nessas condições, verifica-se que existe uma