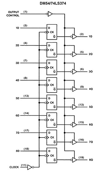
Analise a figura que mostra o diagrama interno do circuito integrado 74LS374:

A alternativa que indica a função lógica CORRETA do circuito é:
Analise a figura que mostra o diagrama interno do circuito integrado 74LS374:

A alternativa que indica a função lógica CORRETA do circuito é: