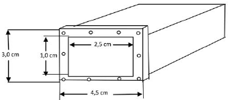
Os guias de onda metálicos de seção circular, elíptica ou retangular são usados para transmissão e recepção de sinais de RF de altas frequências nas faixas de micro-ondas. Um segmento de um guia retangular, com o seu respectivo flange de fixação, é mostrado a seguir.

A frequência de corte de um guia de onda é a frequência a partir da qual nenhum sinal de RF será transmitido pelo guia. Para o guia representado na figura, a frequência de corte será de: