
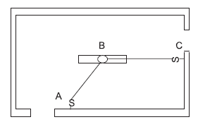
Verifica-se no esquema acima a presença de dois interruptores (pontos A e C) do tipo paralelo (three way), uma luminária (ponto B) e as linhas que ligam esses materiais. Para que seja possível o comando da luminária por meio desses interruptores, é necessário que os fios que passam entre os pontos A e B e entre B e C, respectivamente, sejam:
Provas
Questão presente nas seguintes provas