Magna Concursos
476917 Ano: 2015
Disciplina: Raciocínio Lógico
Banca: IADES
Orgão: CRC-MG
Provas:

enunciado 476917-1

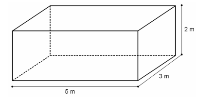
Essa imagem representa o projeto de um reservatório para coleta de óleo após a troca, a ser construído em um posto. Considerando as medidas apresentadas, o volume do reservatório, em m3 , será igual a

 

Provas

Questão presente nas seguintes provas

Motorista

50 Questões