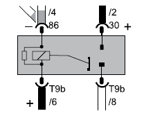
Observe o relê universal automotivo, representado no esquema elétrico, identifique o defeito e assinale a alternativa correta.

Observe o relê universal automotivo, representado no esquema elétrico, identifique o defeito e assinale a alternativa correta.
