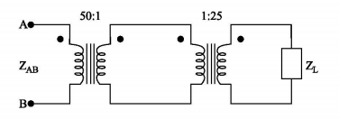
Considere o circuito apresentado na figura, em que os transformadores são ideais e o módulo da impedância de carga vale |ZL| = 250 !$ \Omega !$.

Assinale a alternativa que contém o módulo da impedância vista pelos terminais A e B.
Provas
Questão presente nas seguintes provas