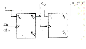
Suponha que o estado inicial de Q0 e Q1 (S) no circuito a seguir, seja igual a zero. Sabendo-se que os flip-flops são sensíveis à borda de descida do pulso de clock, qual a função executada pelo circuito?

Suponha que o estado inicial de Q0 e Q1 (S) no circuito a seguir, seja igual a zero. Sabendo-se que os flip-flops são sensíveis à borda de descida do pulso de clock, qual a função executada pelo circuito?
