Magna Concursos
Questões
Planos
Entrar
Entrar
Criar Conta
Respondida
2928425
Ano:
2019
Disciplina:
Eletroeletrônica
Banca:
UFG
Orgão:
UFG
Provas:
Técnico de Mecânica
Provas
×
Eletrotécnica
Circuitos Trifásicos Eletrotécnica
Eletrotécnica
Circuitos Elétricos em Eletrotécnica
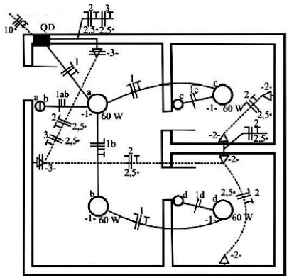
A figura que segue mostra o diagrama unifilar de um circuito elétrico de uma sala administrativa de um complexo industrial.
Analisando a figura, é possível identificar
A
1 segmento de eletroduto situado no piso, que permite ligar um motor trifásico.
B
3 interruptores simples e 1 interruptor duplo.
C
3 circuitos, 2 fases, 1 neutro e 1 interruptor duplo.
D
4 tomadas baixas, 2 tomadas de piso e 4 lâmpadas.
Resolver
Comentários
0
×
Cadernos
×
Flashcards
×
Estatísticas
×
Reportar um erro
×
Provas
Questão presente nas seguintes provas
Técnico de Mecânica
50 Questões
Resolver Prova
Publicar
Responder
Qual o problema da questão?
Selecione uma opção
Questão Desatualizada
Questão Repetida
Gabarito Errado
Outros Motivos
Mensagem
Enviar
Acessar
Criar Conta
Acesse sua Conta
Google
Facebook
Esqueci minha senha
Acessar
Ainda não tem conta?
Crie uma
!
Crie uma Conta
Criar Conta
Olá, para continuar, precisamos criar uma conta!
É
rápido
e
grátis
.
Google
Facebook
Concordo com os
Termos de Uso
Criar
Já tem uma conta?
Acesse aqui