A figura a seguir ilustra um volt-amperímetro tipo alicate com seus componentes básicos externos; analise-a.

A alternativa correta com a identificação dos componentes é:
Provas
Questão presente nas seguintes provas
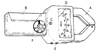
A figura a seguir ilustra um volt-amperímetro tipo alicate com seus componentes básicos externos; analise-a.

A alternativa correta com a identificação dos componentes é: