A figura abaixo mostra a visualização lateral de um poste convencional, que conecta a rede elétrica a um transformador.

Assinale a alternativa que apresenta os dois elementos (A e B), indicados na figura, respectivamente.
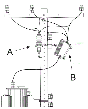
A figura abaixo mostra a visualização lateral de um poste convencional, que conecta a rede elétrica a um transformador.

Assinale a alternativa que apresenta os dois elementos (A e B), indicados na figura, respectivamente.