Magna Concursos
650159 Ano: 2014
Disciplina: Eletroeletrônica
Banca: CESGRANRIO
Orgão: Petrobrás

enunciado 650159-1

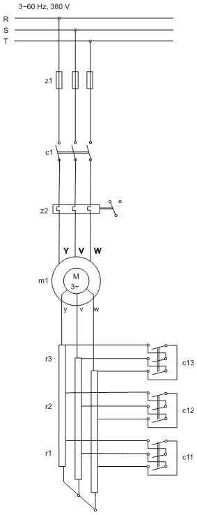
A Figura acima corresponde ao diagrama trifilar do motor de
 

Provas

Questão presente nas seguintes provas