Em se tratando de motores e comandos elétricos, um dos momentos mais críticos é a partida, pois é
nesse instante que o motor elétrico requisita uma corrente muito maior do que a sua corrente nominal para
vencer o estado de inércia. A depender das condições de partida, esse pico de corrente pode, inclusive, disparar os dispositivos de proteção do circuito. Por isso, é muito importante conhecer e saber dimensionar os
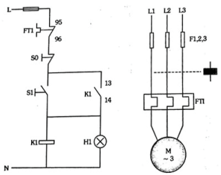
dispositivos de proteção. A figura a seguir, ilustra um circuito de força e de comando de uma partida direta
de um motor trifásico:
Franchi, Claiton Moro. Acionamentos Elétricos. São Paulo: Érica, 5. ed. 2014.
Sabendo que o relé térmico representado se trata de um relé de classe 20 e considerando os demais dispositivos de proteção da figura, assinale a única alternativa correta:
Franchi, Claiton Moro. Acionamentos Elétricos. São Paulo: Érica, 5. ed. 2014.
Sabendo que o relé térmico representado se trata de um relé de classe 20 e considerando os demais dispositivos de proteção da figura, assinale a única alternativa correta: