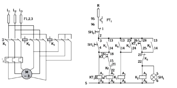
A figura a seguir representa os diagramas de potência e comando de um acionamento do tipo estrelatriângulo.
FRANCHI, C. M. Sistemas de acionamento elétrico. 1. ed. São Paulo: Érica, 2013.
Considerando que o relé temporizador foi ajustado para o correto funcionamento do circuito, assinale a alternativa que corresponde à sequência correta de abertura e fechamento dos contatores K1 , K2 e K3 ao se pressionar o botão pulsador SH1 .
FRANCHI, C. M. Sistemas de acionamento elétrico. 1. ed. São Paulo: Érica, 2013.
Considerando que o relé temporizador foi ajustado para o correto funcionamento do circuito, assinale a alternativa que corresponde à sequência correta de abertura e fechamento dos contatores K1 , K2 e K3 ao se pressionar o botão pulsador SH1 .