Foram encontradas 125 questões.
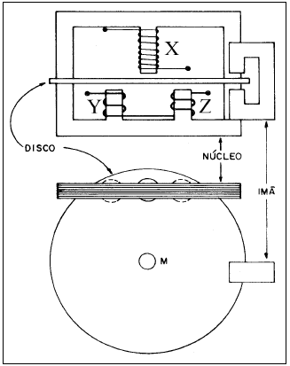
A medição de energia elétrica reativa pode ser feita com a utilização do mesmo princípio do medidor de energia elétrica ativa. A diferença reside no fato de que, em relação às tensões que seriam aplicadas ao medidor no caso da medição de energia ativa, devem ser aplicadas tensões
Provas

(Solon de Medeiros Filho. Medição de energia elétrica.
3ª ed. Rio de Janeiro: Guanabara, 1986, p. 279, com adaptações)
A figura acima mostra uma carga trifásica “Z” alimentada a três fios, em alta tensão, por uma fonte trifásica com sua respectiva medição de energia elétrica, realizada por meio de um medidor do tipo indução de dois elementos com a utilização de transformadores para instrumentos. A respeito dessa situação, assinale a opção correta.
Provas

(Solon de Medeiros Filho. Medição de energia elétrica.
3ª ed. Rio de Janeiro: Guanabara, 1986, p. 266, com adaptações)
A figura acima mostra uma carga trifásica “Z” alimentada a quatro fios por uma fonte trifásica equilibrada com sua respectiva medição de energia elétrica, realizada por meio de um medidor do tipo indução de três elementos, e o diagrama fasorial correspondente à situação descrita. A respeito dessa situação, assinale a opção incorreta.
Provas

Provas
Um modelo computacional de otimização para um sistema hidrotérmico deve ser desenvolvido para se definirem as parcelas ótimas de utilização dos recursos hidráulicos e térmicos na operação do sistema a cada mês. O objetivo é minimizar os custos de operação no horizonte de estudo e utilizar o comportamento das afluências, com vistas a uma análise probabilística. Acerca desse assunto, assinale a opção incorreta.
Provas
Provas
Provas
Provas
Provas
Provas
Caderno Container