Foram encontradas 380 questões.
Provas
Provas
Provas
Provas
Provas
Provas
Provas
Provas
Disciplina: Engenharia Elétrica
Banca: Avança SP
Orgão: DAE-Santa Bárbara Oeste
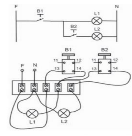
De acordo com a representação funcional e pictórica de um circuito elétrico representado pela figura a seguir:

Interprete as seguintes afirmativas:
I - apertando o botão B1, a lâmpada L2 acende.
II - apertando o botão B2, a lâmpada L1 acende.
III - apertando ambos os botões, apenas a lâmpada L2 é acesa, pois o botão B2 é dominante em relação ao botão B1.
É correto o que se afirma em:
Provas
Disciplina: Engenharia Elétrica
Banca: Avança SP
Orgão: DAE-Santa Bárbara Oeste
Se um circuito elétrico alimenta 2 motores trifásicos em paralelo, a demanda (Dem) solicitada da rede de energia será de:
Dados:
▪ Fator de potência do motor (Fp) = 0,9
▪ Rendimento do motor (η) = 1,0
▪ Fator de utilização = 0,9
▪ Potência do motor: 5 CV (cada)
▪ Tensão da rede: 220 Volts
▪ 1 CV = 736 Watts
Provas
Caderno Container