Foram encontradas 300 questões.
A figura a seguir representa o diagrama do método PERT/CPM e serve de base para responder a questão.

Para a realização de todas as atividades propostas no diagrama, o caminho crítico e o tempo necessário para a conclusão são, respectivamente:
Provas
Somente serão consideradas desenergizadas as instalações elétricas liberadas para trabalho, mediante os procedimentos apropriados , obedecendo-se à sequência:
Provas
A FTA (Failure Tree Analysis ou Análise de Árvore de Falha) é uma técnica de confiabilidade que tem como objetivos:
Provas
A figura 8 mostra o digrama PERT/CPM.

De acordo com o diagrama PERT/CPM acima, a duração do caminho crítico entre os eventos 0 e 8 é de:
Provas
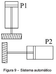
Seja o sistema automático com dois pistões pneumáticos da figura 9.

Para que não ocorra colisão entre P1 e P2, é necessário instalar:
Provas
A figura 8 apresenta uma imagem que serve de base para responder à questão.

Um CLP deve acionar uma bobina K1 de 24 V após um relé de estado sólido RL1 ser acionado por um sinal externo. Todos os dispositivos são alimentados por uma fonte de alimentação 24V com terminais F1 (+24V) e F0 (0V – GND).
Em relação ao trecho do diagrama de interligação que representa parte da régua de bornes do gabinete desse sistema, as ligações feitas nas posições a-b-cd- e-f, respectivamente, utilizando a nomenclatura da figura, supondo que as demais ligações foram feitas de forma adequada, correspondem a:
Provas
A forma de codificação, empacotamento e endereçamento dos dados de transmissão em uma rede é chamado de:
Provas
A figura 7 apresenta imagens de referência para responder à questão.

Um cilindro pneumático dupla ação deve permanecer avançado e recuar apenas quando for acionada uma eletroválvula solenoide. Estão relacionados corretamente os terminais do cilindro e das entradas de ar (letras) com os terminais da eletroválvula pneumática (números) apresentados na figura 7 em:
Provas
Programas de desenho auxiliado por computador utilizam um conceito para separar os diferentes tipos de objetos, equipamentos e construções. Este conceito geralmente é configurado pelo utilizador do programa e é denominado:
Provas
Considerar a figura 6 para responder a questão.

O controle da válvula da figura 6 é feito utilizando-se:
Provas
Caderno Container