Foram encontradas 3.478 questões.
Sabendo-se que o conjunto porca-parafuso de potência, constituído por fuso e porca de rosca Acme 1,25 – 5 de uma entrada, é lubrificado com óleo, o que lhe confere atrito de deslizamento igual a 0,2, e que o parafuso deverá elevar uma carga axial de 2000 lb, qual a eficiência desse conjunto? Dados: Diâmetro médio do colar = 1,75 in Torque de elevação da carga = 200 lb.in
Provas

As medidas indicadas nos instrumentos ilustrados nas figuras acima são:
| I | II | III |
Provas
A fundição é um dos processos de fabricação mais empregados na indústria, estando presente em elementos de válvulas e tubulações, entre outros. Sobre esse processo, pode-se afirmar:
I - A contração durante o processo de solidificação pode provocar defeitos internos (vazios), trincas a quente e tensões residuais.
II - Devem ser usados areia e cimento em moldes para fundição sob pressão a fim de manter as dimensões nominais do molde.
III - Na fundição centrífuga, o metal líquido é vazado em um molde dotado de movimento de rotação, de modo que a força centrífuga origine uma pressão que force o metal de encontro às paredes do molde.
IV - No processo de fundição em casca, o molde é fabricado a partir de uma mistura de areia e resina com cura ao calor, que funciona como aglomerante.
São corretas as afirmativas
Provas

No circuito acima, admitindo um curso de 20 cm e um tempo de erguimento da carga de 6000 N igual a 10 segundos, assumindo um rendimento de 80% para o circuito e que a carga seja igualmente distribuída pelos atuadores, qual é a potência absorvida?
Provas
Qual a velocidade de corte, o avanço da ferramenta, o tempo para uma operação de torneamento e a secção do cavaco para uma operação de torneamento em que se deseja reduzir o diâmetro de uma peça cilíndrica de 200 mm para 196 mm?
Considere:
• Comprimento da peça: 98 mm
• Avanço: cerca de 1 mm
• Profundidade de corte: 2 mm
• Entrada e saída da ferramenta: espaço de 1 mm
• Rotação:100 rpm
|
Velocidade de corte |
Avanço [m/min] |
Tempo [min] |
Secção do cavaco |
Provas
Algumas das propriedades buscadas em um material de mancal de deslizamento são: usinabilidade, lubricidade, resistência à temperatura e à corrosão, entre outras. Dentre as diversas classes de materiais que podem ser empregados na fabricação de mancais de deslizamento,
Provas

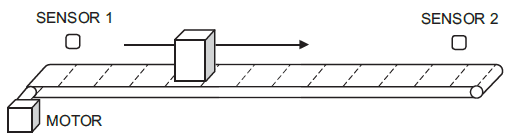
Analisando a figura acima, conclui-se que o(a)
Provas

Qual a representação, em 1o diedro, das vistas frontal, lateral esquerda e superior da peça ilustrada acima?
Provas

Pelos dados da tabela de afastamentos acima, o ajuste 24 H6/f7 tem as seguintes características:
|
Ajuste |
Sistema |
Folga (ou interferência) Máxima [!$ mu !$m] |
Folga (ou interferência) Mínima [!$ mu !$m] |
Tolerância de |
Provas

A figura acima apresenta uma esteira acionada por um motor M e dois sensores de presença com contatos normalmente abertos. Ao passar a peça pelo sensor 1, aciona M e, ao passar pelo sensor 2, desliga M.O programa em lista de instrução do controlador lógico programável será:
Provas
Caderno Container