Magna Concursos

Foram encontradas 175 questões.

2697922 Ano: 2004
Disciplina: Engenharia Mecânica
Banca: CESPE / CEBRASPE
Orgão: Petrobrás
Escoamentos multifásicos são comuns em processos de produção ou refino de petróleo. Nesse tipo de escoamento, dois fluidos em diferentes fases (líquida e gasosa) fluem ao longo de um dado domínio. Para o caso específico de tubulações, dependendo das vazões de líquido (Ql) ou de gás (Qg), o escoamento assume um padrão. Com base nessas informações, julgue o item a seguir.
Em escoamentos bifásicos de misturas de água e óleo, devem ser considerados os efeitos de tensão superficial e de gravidade. Nesse sentido, os regimes de escoamento são controlados pelos parâmetros adimensionais de Froude e Weber.
 

Provas

Questão presente nas seguintes provas
2697917 Ano: 2004
Disciplina: Engenharia Mecânica
Banca: CESPE / CEBRASPE
Orgão: Petrobrás
Em um processo de compressão de um gás (perfeito) hipotético, a eficiência isentrópica do compressor é de 90% e a temperatura de entrada no compressor é de 50 °C. Considerando que a razão de pressão é igual a 9 e o gás (hipotético) possui razão entre os calores específicos próximo de 2 e que em um processo isentrópico, a relação T2 = T1(rp)!$ (\gamma -1 !$)/!$ \gamma ) !$ é válida. A partir dessas informações, julgue o seguinte item.
A temperatura real de descarga se encontra entre 720 ºC e 810 °C.
 

Provas

Questão presente nas seguintes provas
2697910 Ano: 2004
Disciplina: Engenharia Mecânica
Banca: CESPE / CEBRASPE
Orgão: Petrobrás
Uma caldeira operou por cinco anos ininterruptamente. Após esse tempo, foi inspecionada por um técnico, para se determinar o real estado de limpeza das superfícies de troca de calor. A inspeção foi dividida em duas partes: a primeira inspecionou as superfícies do lado do fogo (fire sides) e a segunda inspecionou as do lado da água (water sides). A inspeção do lado do fogo encontrou uma camada de fuligem generalizada de 2 mm de altura e a inspeção do lado da água revelou a presença de incrustações duras (salt scale) nas paredes internas dos tubos.
Com base nessa situação, julgue o item seguinte.
As incrustações duras do lado da água devem ser retiradas por limpeza química, por meio de um ataque por solvente ácido. A solução contendo o solvente deve ser circulada nas superfícies internas dos tubos.
 

Provas

Questão presente nas seguintes provas
2697896 Ano: 2004
Disciplina: Engenharia Mecânica
Banca: CESPE / CEBRASPE
Orgão: Petrobrás
Escoamentos multifásicos são comuns em processos de produção ou refino de petróleo. Nesse tipo de escoamento, dois fluidos em diferentes fases (líquida e gasos
 

Provas

Questão presente nas seguintes provas
2697891 Ano: 2004
Disciplina: Engenharia Mecânica
Banca: CESPE / CEBRASPE
Orgão: Petrobrás
Enunciado 2908646-1
Uma alimentação de vapor, para dois utilizadores em uma central termelétrica, foi executada segundo o projeto ilustrado na figura acima. Nessa interligação, vários acessórios de tubulações foram montados para uma melhor conveniência operacional. O material dos tubos da rede de vapor é o ASTM A106 Gr.B, cuja composição química, segundo o certificado fornecido pela siderúrgica, possuía os seguintes percentuais: 0,29% C; 0,90% Mn; 0,30% Si; 0,03% P; 0,03% S.
Com relação ao projeto e à seleção de material dessa alimentação, julgue o item subseqüente.
Na descarga do bocal de 6", existe uma válvula de globo e uma válvula direcional para controlar e orientar o fluxo de vapor.
 

Provas

Questão presente nas seguintes provas
2697871 Ano: 2004
Disciplina: Engenharia Mecânica
Banca: CESPE / CEBRASPE
Orgão: Petrobrás
Enunciado 2888488-1
Uma alimentação de vapor, para dois utilizadores em uma central termelétrica, foi executada segundo o projeto ilustrado na figura acima. Nessa interligação, vários acessórios de tubulações foram montados para uma melhor conveniência operacional. O material dos tubos da rede de vapor é o ASTM A106 Gr.B, cuja composição química, segundo o certificado fornecido pela siderúrgica, possuía os seguintes percentuais: 0,29% C; 0,90% Mn; 0,30% Si; 0,03% P; 0,03% S.
Com relação ao projeto e à seleção de material dessa alimentação, julgue o item subseqüente.
As válvulas utilizadas nesse trecho de rede são interligadas nos tubos por meio de flanges de face plana, com capacidade para uma pressão de 150 kg/cm2.
 

Provas

Questão presente nas seguintes provas
2697870 Ano: 2004
Disciplina: Engenharia Mecânica
Banca: CESPE / CEBRASPE
Orgão: Petrobrás
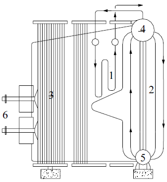
Enunciado 2885231-1
A figura acima mostra o desenho esquemático de uma caldeira aquatubular de alta pressão, que foi montada em uma unidade de craqueamento de petróleo. A caldeira gera vapor superaquecido para ser consumido por uma turbina a vapor. Para promover o escoamento do ar e dos gases, essa caldeira usa o sistema de tiragem forçada. No desenho acima, estão enumeradas as várias partes que foram erigidas, por ocasião da montagem.
Considerando essas informações, julgue o item que se segue.
O sistema de tiragem forçada, usado no projeto da caldeira, requer um ou mais ventiladores ligados na caixa de ar dos queimadores e um ou mais ventiladores ligados na saída da fornalha da caldeira.
 

Provas

Questão presente nas seguintes provas
2697867 Ano: 2004
Disciplina: Engenharia Mecânica
Banca: CESPE / CEBRASPE
Orgão: Petrobrás
Com relação às válvulas de controle, julgue o item subseqüente.
Em um poliduto que transporta óleo combustível, gasolina e GLP, com uma vazão constante, uma válvula de controle deve comutar automaticamente a saída de um duto em função da mudança do fluido que escoa em seu interior. O comando dessa válvula poderia ser feito simplesmente monitorando-se a pressão diferencial em uma placa de orifício colocada a montante, próximo à própria válvula de controle.
 

Provas

Questão presente nas seguintes provas
2697859 Ano: 2004
Disciplina: Engenharia Mecânica
Banca: CESPE / CEBRASPE
Orgão: Petrobrás
Acerca dos métodos para medição de pressão, nível, temperatura e vazão, julgue o item a seguir.
Os controladores de nível por condutância são freqüentemente usados para acionar automaticamente um dispositivo de sinalização ou de controle. Devido à ausência de partes móveis, esse sistema demanda baixa manutenção, e o ajuste do nível de controle é de fácil realização.
 

Provas

Questão presente nas seguintes provas
2697854 Ano: 2004
Disciplina: Engenharia Mecânica
Banca: CESPE / CEBRASPE
Orgão: Petrobrás
Escoamentos multifásicos são comuns em processos de produção ou refino de petróleo. Nesse tipo de escoamento, dois fluidos em diferentes fases (líquida e gasosa) fluem ao longo de um dado domínio. Para o caso específico de tubulações, dependendo das vazões de líquido (Ql) ou de gás (Qg), o escoamento assume um padrão. Com base nessas informações, julgue o item a seguir.
Para uma vazão de líquido fixa, ao se aumentar a vazão de gás, o gradiente de pressão na tubulação se reduz.
 

Provas

Questão presente nas seguintes provas