Foram encontradas 460 questões.
2625139
Ano: 2022
Disciplina: TI - Desenvolvimento de Sistemas
Banca: Metrópole
Orgão: Pref. Pedra Branca Amapari-AP
Disciplina: TI - Desenvolvimento de Sistemas
Banca: Metrópole
Orgão: Pref. Pedra Branca Amapari-AP
Provas:
É um algoritmo de busca em vetores que segue o paradigma de divisão e conquista.

I. Percorrer a lista comparando a chave com os valores dos elementos em cada uma das posições.
II. Se a chave for igual à algum dos elementos, retornar a posição correspondente na lista.
III. Se a lista toda for percorrida e a chave não for encontrada, retornar o valor −1.
Estão corretas as afirmativas.
Provas
Questão presente nas seguintes provas
2625138
Ano: 2022
Disciplina: TI - Desenvolvimento de Sistemas
Banca: Metrópole
Orgão: Pref. Pedra Branca Amapari-AP
Disciplina: TI - Desenvolvimento de Sistemas
Banca: Metrópole
Orgão: Pref. Pedra Branca Amapari-AP
Provas:
- Fundamentos de ProgramaçãoAlgoritmosAlgoritmos de Busca
- Fundamentos de ProgramaçãoAlgoritmosDividir e Conquistar
- Fundamentos de ProgramaçãoComplexidade
Sobre o algoritmo de busca binária, marque a alternativa INCORRETA.
Provas
Questão presente nas seguintes provas
2625133
Ano: 2022
Disciplina: TI - Desenvolvimento de Sistemas
Banca: Metrópole
Orgão: Pref. Pedra Branca Amapari-AP
Disciplina: TI - Desenvolvimento de Sistemas
Banca: Metrópole
Orgão: Pref. Pedra Branca Amapari-AP
Provas:
- Fundamentos de ProgramaçãoAlgoritmosAlgoritmos de Busca
- Fundamentos de ProgramaçãoLógica de Programação
Os algoritmos de busca e de ordenação compreendem um conjunto de algoritmos de elevada importância para a computação. Os dois principais algoritmos de buscas são: busca sequencial e busca binária. Sobre o algoritmo de busca sequencial, marque a alternativa INCORRETA.
Provas
Questão presente nas seguintes provas
2625132
Ano: 2022
Disciplina: TI - Desenvolvimento de Sistemas
Banca: Metrópole
Orgão: Pref. Pedra Branca Amapari-AP
Disciplina: TI - Desenvolvimento de Sistemas
Banca: Metrópole
Orgão: Pref. Pedra Branca Amapari-AP
Provas:
- Fundamentos de ProgramaçãoAlgoritmosAlgoritmos de Busca
- Fundamentos de ProgramaçãoAlgoritmosAlgoritmos de Ordenação
- Fundamentos de ProgramaçãoComplexidade
- Fundamentos de ProgramaçãoEstruturas de DadosDefinição: Estrutura de Dados
Os algoritmos de busca e de ordenação compreendem um conjunto de algoritmos de elevada importância para a computação. O objetivo da busca (ou pesquisa) é encontrar uma ou mais ocorrências de registros com valores iguais ao valor procurado. Existem vários métodos de pesquisa e a escolha do método mais adequado depende, principalmente:
Provas
Questão presente nas seguintes provas
2625131
Ano: 2022
Disciplina: TI - Gestão e Governança de TI
Banca: Metrópole
Orgão: Pref. Pedra Branca Amapari-AP
Disciplina: TI - Gestão e Governança de TI
Banca: Metrópole
Orgão: Pref. Pedra Branca Amapari-AP
Provas:
Sobre o Modelo de Maturidade da Capacitação para Software, chamado CMM – Capability Maturity Model for Software, marque a alternativa INCORRETA.
Provas
Questão presente nas seguintes provas
2625130
Ano: 2022
Disciplina: TI - Desenvolvimento de Sistemas
Banca: Metrópole
Orgão: Pref. Pedra Branca Amapari-AP
Disciplina: TI - Desenvolvimento de Sistemas
Banca: Metrópole
Orgão: Pref. Pedra Branca Amapari-AP
Provas:
Nos dias de hoje, o que se observa é a incapacidade das empresas em desenvolver software com qualidade, de acordo com os requisitos estabelecidos no projeto e dentro do prazo estimado. As empresas precisam cada vez mais, oferecer produtos e serviços que satisfaçam a qualidade exigida pelo cliente. Os modelos e normas de qualidade de software foram criados a fim de atender plenamente os requisitos de qualidade auxiliando na melhoria dos processos internos e promovendo a normatização de produtos e serviços. A implantação de um programa de qualidade começa pela definição e implantação do processo de software documentado onde estabeleçam as atividades a serem realizadas durante o processo, sua estrutura e organização, artefatos requeridos, produzidos e recursos necessários (humanos, hardware e software) para a realização das atividades. Sobre o modelo de qualidade de software Norma ISO/IEC 12207 marque à alternativa INCORRETA.
Provas
Questão presente nas seguintes provas
2625129
Ano: 2022
Disciplina: TI - Organização e Arquitetura dos Computadores
Banca: Metrópole
Orgão: Pref. Pedra Branca Amapari-AP
Disciplina: TI - Organização e Arquitetura dos Computadores
Banca: Metrópole
Orgão: Pref. Pedra Branca Amapari-AP
Provas:
A figura a seguir mostra a estrutura de um computador.
http://www.telecom.uff.br/orgarqcomp/arq/arquitetura-e-organizacaocomputadores-8a.pdf
De acordo com a figura, analise as afirmativas.
I. A memória principal também é conhecida como memória central, é uma memória de rápido acesso e que armazena os dados/informações (programas, objetos, dados de entrada e saída, dados do sistema operacional, etc.).
II. CPU é a sigla em inglês para Unidade Central de Processamento, o componente do computador que concentra todas as principais operações que permitem a seu PC, celular, tablet ou videogame a funcionar. Não é exagero, portanto, se referir à CPU como o “cérebro” desses dispositivos.
III. Chamamos de dispositivos de entrada e saída os dispositivos encarregados de incorporar e extrair informação de um computador. Eles se enquadram dentro da denominada: Arquitetura de Von Neumann, que explica as principais partes de um computador.
Estão corretas as afirmativas:
http://www.telecom.uff.br/orgarqcomp/arq/arquitetura-e-organizacaocomputadores-8a.pdf
De acordo com a figura, analise as afirmativas.
I. A memória principal também é conhecida como memória central, é uma memória de rápido acesso e que armazena os dados/informações (programas, objetos, dados de entrada e saída, dados do sistema operacional, etc.).
II. CPU é a sigla em inglês para Unidade Central de Processamento, o componente do computador que concentra todas as principais operações que permitem a seu PC, celular, tablet ou videogame a funcionar. Não é exagero, portanto, se referir à CPU como o “cérebro” desses dispositivos.
III. Chamamos de dispositivos de entrada e saída os dispositivos encarregados de incorporar e extrair informação de um computador. Eles se enquadram dentro da denominada: Arquitetura de Von Neumann, que explica as principais partes de um computador.
Estão corretas as afirmativas:
Provas
Questão presente nas seguintes provas
2625128
Ano: 2022
Disciplina: TI - Organização e Arquitetura dos Computadores
Banca: Metrópole
Orgão: Pref. Pedra Branca Amapari-AP
Disciplina: TI - Organização e Arquitetura dos Computadores
Banca: Metrópole
Orgão: Pref. Pedra Branca Amapari-AP
Provas:
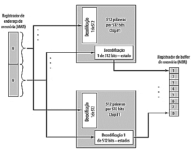
A figura a seguir mostra como um módulo de memória consistindo em 256K palavras de 8 bits poderia ser organizado.
http://www.telecom.uff.br/orgarqcomp/arq/arquitetura-e-organizacaocomputadores-8a.pdf
Sobre Memória, NÃO se pode afirmar que:
http://www.telecom.uff.br/orgarqcomp/arq/arquitetura-e-organizacaocomputadores-8a.pdf
Sobre Memória, NÃO se pode afirmar que:
Provas
Questão presente nas seguintes provas
2625127
Ano: 2022
Disciplina: TI - Organização e Arquitetura dos Computadores
Banca: Metrópole
Orgão: Pref. Pedra Branca Amapari-AP
Disciplina: TI - Organização e Arquitetura dos Computadores
Banca: Metrópole
Orgão: Pref. Pedra Branca Amapari-AP
Provas:
Tanto a estrutura quanto o funcionamento de um computador são, essencialmente, simples. A figura abaixo representa as funções básicas que um computador pode realizar.
http://www.telecom.uff.br/orgarqcomp/arq/arquitetura-e-organizacaocomputadores-8a.pdf
NÃO é uma função básica que um computador pode realizar:
http://www.telecom.uff.br/orgarqcomp/arq/arquitetura-e-organizacaocomputadores-8a.pdf
NÃO é uma função básica que um computador pode realizar:
Provas
Questão presente nas seguintes provas
2625126
Ano: 2022
Disciplina: TI - Sistemas Operacionais
Banca: Metrópole
Orgão: Pref. Pedra Branca Amapari-AP
Disciplina: TI - Sistemas Operacionais
Banca: Metrópole
Orgão: Pref. Pedra Branca Amapari-AP
Provas:
Um sistema Linux embarcado não se difere, no quesito sistêmico, de um sistema Linux desktop. A mesma estrutura e conceitos são aplicados em ambos os domínios. A principal diferença está nos requisitos de processamento, armazenamento, consumo de energia e confiabilidade. Na maioria dos sistemas Linux embarcado, os recursos disponíveis são limitados e muitas vezes a interface com usuário é bastante limitada ou simplesmente não existe. Neste contexto, complete as lacunas a seguir.
De acordo com Sobell (2008), a linguagem padrão para o desenvolvimento de aplicações no nível do sistema é a , estando a padrão sempre presente em sistemas Linux. Quando se requer um nível maior de abstração, a ou também podem ser uma boa escolha. Linguagens de script, como e são muito úteis em determinadas tarefas, e podem ajudar a diminuir o tempo de desenvolvimento, sem deixar de considerar questões como o consumo de recursos e a segurança da aplicação e do sistema.
Marque a alternativa que completa corretamente as lacunas.
De acordo com Sobell (2008), a linguagem padrão para o desenvolvimento de aplicações no nível do sistema é a , estando a padrão sempre presente em sistemas Linux. Quando se requer um nível maior de abstração, a ou também podem ser uma boa escolha. Linguagens de script, como e são muito úteis em determinadas tarefas, e podem ajudar a diminuir o tempo de desenvolvimento, sem deixar de considerar questões como o consumo de recursos e a segurança da aplicação e do sistema.
Marque a alternativa que completa corretamente as lacunas.
Provas
Questão presente nas seguintes provas
Cadernos
Caderno Container