Foram encontradas 285 questões.
866124
Ano: 2012
Disciplina: Desenho Técnico e Industrial
Banca: UFPR
Orgão: COHAB Araucária
Disciplina: Desenho Técnico e Industrial
Banca: UFPR
Orgão: COHAB Araucária
Provas:
No AutoCAD, além das opções de desenho em 3D, é possível desenhar perspectivas isométricas sem utilizar o 3D real. Para isso, basta habilitar o modo:
Provas
Questão presente nas seguintes provas
No que diz respeito a Windows Explorer, qual das alternativas abaixo apresenta o caminho UNC sintaticamente correto para um recurso compartilhado?
Provas
Questão presente nas seguintes provas
866035
Ano: 2012
Disciplina: TI - Gestão e Governança de TI
Banca: UFPR
Orgão: COHAB Araucária
Disciplina: TI - Gestão e Governança de TI
Banca: UFPR
Orgão: COHAB Araucária
Provas:
Sobre nível de maturidade 5 do CMMI v.1.3, considere as seguintes afirmativas:
1. Os processos são continuamente melhorados com base no entendimento das causas comuns de variação inerentes aos processos.
2. Inovação Organizacional e Implantação, Análise Causal e Resolução são áreas de processo.
3. Os objetivos quantitativos são baseados nas necessidades do cliente, usuários finais, organização e implementadores de processo.
4. A institucionalização é conseguida pela adesão às políticas organizacionais.
Assinale a alternativa correta.
Provas
Questão presente nas seguintes provas
Em pinturas, a manifestação patológica caracterizada pelo desprendimento de tinta em forma de pó quando se passa a mão sobre a superfície pintada é chamada de:
Provas
Questão presente nas seguintes provas
Sobre as licitações, é correto afirmar:
1. Desde que não haja benefício e/ou vantagem para celebrar contrato com o Poder Público, a dispensa ou inexigibilidade de licitação fora das hipóteses previstas em lei constitui mera impropriedade administrativa, não podendo o responsável ser penalizado.
2. O patrocínio, direto ou indireto, de interesse privado perante a Administração, dando causa à instauração de licitação ou à celebração de contrato, cuja invalidação vier a ser decretada pelo Poder Judiciário, é irregularidade administrativa, devendo obrigatoriamente ser imposta sanção administrativa ao agente público, mas não constitui crime, haja vista que não houve afronta ao interesse público.
3. Frustrar ou fraudar, mediante ajuste, combinação ou qualquer outro expediente, o caráter competitivo do procedimento licitatório, com o intuito de obter, para si ou para outrem, vantagem decorrente da adjudicação do objeto da licitação, é crime, sujeitando o agente à pena de detenção de dois a quatro anos e multa.
4. Caso haja imputação de multa pela prática de delitos relacionados à licitação, a pena a ser cominada consiste no pagamento de quantia calculada em índices percentuais, cuja base corresponderá ao valor da vantagem efetivamente obtida ou potencialmente auferível pelo agente.
Assinale a alternativa correta.
Provas
Questão presente nas seguintes provas
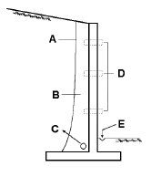
Muros de arrimo são estruturas projetadas para suportar esforços laterais, porém a carga a ser sustentada aumenta consideravelmente quando o solo fica encharcado. Para evitar essa sobrecarga, implanta-se um sistema de drenagem no muro, como ilustrado na figura ao lado.

Assinale a alternativa que indica corretamente os nomes dos sistemas de drenagem apresentados na figura na sequência A, B, C, D e E.
Provas
Questão presente nas seguintes provas
Assinale a alternativa correta.
Provas
Questão presente nas seguintes provas
854981
Ano: 2012
Disciplina: Segurança e Saúde no Trabalho (SST)
Banca: UFPR
Orgão: COHAB Araucária
Disciplina: Segurança e Saúde no Trabalho (SST)
Banca: UFPR
Orgão: COHAB Araucária
Provas:
Com relação ao uso de andaimes na construção civil, é correto afirmar:
Provas
Questão presente nas seguintes provas
A média aritmética entre dois números é 13. Fazendo a soma desses dois números com um terceiro, a média aritmética dos três resulta 24. Esse terceiro número é:
Provas
Questão presente nas seguintes provas
A provisão para perdas em estoques NÃO é aplicável quando se trata de:
Provas
Questão presente nas seguintes provas
Cadernos
Caderno Container