Magna Concursos

Foram encontradas 3.478 questões.

2881278 Ano: 2010
Disciplina: Engenharia Mecânica
Banca: CESGRANRIO
Orgão: Petrobrás

Analise as três amostras de aço carbono reproduzidas abaixo, que foram obtidas por micrografia.

Enunciado 3090447-1

Considerando os aços eutetoide, hipoeutetoide e hipereutetoide, apresentados nesta ordem, a sequência que corresponde às amostras é, respectivamente,

 

Provas

Questão presente nas seguintes provas
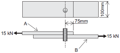
2881277 Ano: 2010
Disciplina: Engenharia Mecânica
Banca: CESGRANRIO
Orgão: Petrobrás

Duas chapas de espessura igual a 20 mm são unidas por um pino de diâmetro igual a 25 mm, sendo as demais informações descritas na figura abaixo.

Enunciado 3090446-1

O valor da maior tensão normal aplicada nas chapas, em MPa, é igual a

 

Provas

Questão presente nas seguintes provas
2881276 Ano: 2010
Disciplina: Engenharia Mecânica
Banca: CESGRANRIO
Orgão: Petrobrás

Uma barra de seção quadrada, com 10 mm de lado e comprimento igual a 0,2 m, é submetida a um esforço axial de 1 kN, aplicado no centroide da seção. Se o alongamento obtido for igual a 0,02 mm, o valor do módulo de elasticidade do material da barra, em GPa, será

 

Provas

Questão presente nas seguintes provas
2881275 Ano: 2010
Disciplina: Engenharia Mecânica
Banca: CESGRANRIO
Orgão: Petrobrás

Um extensômetro instalado em um vaso de pressão esférico de paredes finas fornece uma leitura de deformação igual a 200 x 10-6. O material do vaso de pressão possui módulo de elasticidade igual a 210 GPa e coeficiente de Poisson igual 0,3. O diâmetro do vaso de pressão é igual a 0,6 m e sua espessura igual a 10 mm. O valor da pressão interna, em MPa, será igual a

 

Provas

Questão presente nas seguintes provas
2881274 Ano: 2010
Disciplina: Engenharia Mecânica
Banca: CESGRANRIO
Orgão: Petrobrás

No processo de beneficiamento do minério de ferro, NÃO é considerado um método de aglomeração a

 

Provas

Questão presente nas seguintes provas
2881273 Ano: 2010
Disciplina: Engenharia Mecânica
Banca: CESGRANRIO
Orgão: Petrobrás

Enunciado 3090442-1

Considerando a figura e os dados acima, qual a diferença de pressão entre A e B, sabendo-se que o líquido manométrico é o óleo e tem-se água em A e B?

Dados:
densidade do óleo = 0,8
h1 = 200 mm
h2 = 100 mm
h3 = 400 mm

 

Provas

Questão presente nas seguintes provas
2881272 Ano: 2010
Disciplina: Engenharia Mecânica
Banca: CESGRANRIO
Orgão: Petrobrás

Enunciado 3090441-1

Qual a representação, em 1º diedro, das vistas frontal, lateral esquerda e superior da peça ilustrada acima?

 

Provas

Questão presente nas seguintes provas
2881271 Ano: 2010
Disciplina: Engenharia Mecânica
Banca: CESGRANRIO
Orgão: Petrobrás

Qual a potência consumida para um desprendimento de cavaco de 1 mm2 de secção, usinando duralumínio em uma máquina nova, com rendimento de 85% e utilizando uma ferramenta de aço rápido? Dados:

• Pressão específica de corte = 80 kgf/mm2

• Velocidade de corte = 220 m/min

• 1 CV = 0,736 KW.

 

Provas

Questão presente nas seguintes provas
2881270 Ano: 2010
Disciplina: Engenharia Mecânica
Banca: CESGRANRIO
Orgão: Petrobrás

Enunciado 3090439-1

As medidas indicadas nos instrumentos ilustrados nas figuras acima são:

Micrômetro

Paquímetro Goniômetro

Relógio Comparador

 

Provas

Questão presente nas seguintes provas
2881269 Ano: 2010
Disciplina: Engenharia Mecânica
Banca: CESGRANRIO
Orgão: Petrobrás

Enunciado 3090438-1

Para a viga mostrada acima, o valor do momento fletor aplicado no engaste A em N . m é igual a

 

Provas

Questão presente nas seguintes provas