Foram encontradas 1.315 questões.
Para a construção de um elevador, tem-se as seguintes medidas: a) profundidade de segurança do poço: 2,00 m abaixo da primeira parada; b) altura para segurança de frenagem + cabine: 4,30 m acima da última parada; c) altura da casa de máquinas: 2,20 m. Além disso, a casa de máquinas é o ponto mais elevado do edifício.
Com base na situação acima, assinale a opção que apresenta o cálculo correto desprezando-se as espessuras das lajes.
Provas

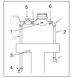
Com base na figura acima, que ilustra uma instalação hidráulica, assinale a opção correta.
Provas
No que se refere as instalações elétricas e hidrossanitárias, assinale a opção correta.
Provas
Com relação à acústica de grandes ambientes, assinale a opção incorreta.
Provas

figura I

figura II

figura III
Considerando os diagramas de insolação e de freqüência de ventos apresentados nas figuras I e II acima e a posição da edificação indicada na figura III, assinale a opção correta.
Provas
Acerca da utilização de recursos tecnológicos e de informática na arquitetura, julgue os itens a seguir.
I O programa AutoCAD não é o mais indicado para desenhos de projeto de arquitetura após o advento do programa Sketchup, que é mais rápido e simples.
II O recurso de criar sombras no programa Sketchup facilitou o dimensionamento de brises.
III Considerando-se somente as modificações nos desenhos após a sua finalização, seria mais vantajoso projetar sem recorrer à informática já que é muito simples modificar um desenho feito a lápis com o uso da borracha.
IV O geoprocessamento é o conjunto de tecnologias que integram as fases de coleta, processamento e uso de informações relacionadas ao espaço físico.
A quantidade de itens certos é igual a
Provas
Considerando que os recursos disponíveis para determinada construção sejam de R$ 5 milhões, assinale, entre as situações a seguir, a correta do ponto de vista técnico-financeiro.
Provas
O Programa de Necessidades é
Provas
- CMMI: Capability Maturity Model IntegrationCMMI v1.3
- CMMI: Capability Maturity Model IntegrationCMMI v2.0
Provas
- CMMI: Capability Maturity Model IntegrationCMMI v1.3
- CMMI: Capability Maturity Model IntegrationCMMI v2.0
Considerando as áreas de processo no CMMI, assinale a opção correta.
Provas
Caderno Container